问:当下中国马拉松跑最快的三个人是谁?
答:他们全都在下面这张照片上,而且个人最好成绩的顺序,恰好和他们在领奖台上的位置相对应。

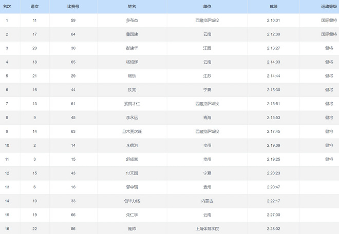
这三位就是3月24日举行的2019徐州国际马拉松赛(也是全国马拉松锦标赛徐州站暨多哈世界田径锦标赛中国马拉松选拔赛)前三名:
- 冠军 多布杰,2:10:31,PB;
- 亚军 董国建,2:12:09,PB 2:11:41(2016年重庆);
- 季军 彭建华,2:13:27,首秀。

他们三人还有一个有趣的共同点:首马都跑出2小时13分的好成绩,且成绩和PB成正比:
- 多布杰 2:13:15,2016年重庆马拉松;
- 董国建 2:13:23,2010年大连马拉松;
- 彭建华 2:13:27,2019年徐州马拉松。
对于2017年全运会冠军董国建和2018年亚运会季军多布杰,大家已经知道不少。但这个彭建华又是从哪里冒出来的?
此人的首秀表现,已经超过云南名将杨定宏2017年在无锡马拉松创造的2:13:37——PB兼中国年度最好成绩,跃居八年多来中国第三快(上一个是2010年12月李子成的2:11:49,上海马拉松亚军)。

特别值得一提的是,彭建华还只是个马拉松一年级生——去年下半年才开始练这个项目的。
他为什么能够一鸣惊人?
上周六国际田联钻石联赛上海站比赛日前后,笔者在对来沪参加5000米角逐的彭建华进行独家专访时,向他提出这个问题。
他如何回答?咱们暂且按下不表,先来说说他的经历。
从湖南到江西,从铁三到长跑
1996年12月18日,彭建华出生于湖南湘西州龙山县咱果乡金线村。
湘西是个土家族苗族自治州。“我是土家族人。”他告诉笔者,接着又解释说,现在土家族已经汉化了;他们在家里说的,就是湘西普通话。
他的家乡,和分别生长在青藏、云贵高原的另两大高手多布杰、董国建有所不同,“我们那边没海拔”。
不过,大山还是有的。
彭建华的家在大山上,而学校位于山脚下。小学一二年级时,他每天要爬山上下学,还好距离不太远——一两公里路,海拔高度差两百多米。
后来他到乡里读书,一直念到初中。
初二那年,学校来了个体育老师,组建起一些集训队,从小活泼好动、跑步能力出众的他也被招募进去。

2012年,彭建华被特招进龙山县高级中学。
2014年9月,他代表湘西州参加湖南省第十二届运动会,夺得1500米金牌(4:02.32)、5000米银牌(15:0)并打破省运会记录。



“我代表湘西去比湖南省运会,被我们体校的一个老师介绍到江西,他们正在招铁人三项队员。”
那一年,不满18岁的彭建华来到江西九江,练了一年多铁三。在游泳、骑车和跑步三个项目中,他的强项无疑是后者。
那一年多训练的收获是,2017年全运会,他荣获游跑两项(游600米,跑10000米)全能冠军。

此前江西铁人三项队已于2015年年底解散,但他被留下来,加入新组建的中长跑队,主项从一开始就是5000、10000米。
由于当时这支新队伍没有教练,他被送到云南,师从云南队著名教练张国伟,练了三四个月再回九江。
2016年开春,彭建华开始出来参加比赛,在田径大奖赛上初露锋芒:首战浙江就达一级(运动员);9月份又达健将——均通过万米成绩,门槛分别为30分50秒和29分45秒。
两度远赴肯尼亚训练
目前彭建华的10000米PB,是2018年9月在太原锦标赛跑的29分17秒98。
“挺差的。现在一直想找机会破一下29分。”他告诉笔者。
实力上他应该已经具备;“感觉就是差一个氛围吧——不一定要国际大赛,国内比赛大家互相带也可以。”
他的5000米PB则是14分07秒06,“成绩也不算太好”。
2018年雅加达亚运会,彭建华是中国国家队参加5000米项目的唯一选手。

他是通过去年6月在贵阳举行的全国田径冠军赛暨亚运会选拔赛出线的,那次他以14:18.62排名5000米第二,但冠军董国建被选派参加亚运会马拉松角逐。


塞翁失马,焉知非福。去年8月,就在亚运会激战正酣之际,他被派往肯尼亚,接受高原训练。

彭建华总共赴肯尼亚训练两次;“第一次一个月;第二次是去年11月去的,3月才回来,一百多天。”
两次都在同一个地方:长跑名城埃尔多雷特(Eldoret),海拔2100多米。
和他一起训练的中国男女运动员,总共有二十多人。他们第一批先到,后来又来一批中跑的;来自多个省队。


说起在肯尼亚的训练感受,彭建华感慨:“那边氛围特别好。艰苦的环境出成绩吧。”

他的马拉松转型,就是从那时才开始的;“那个冬训准备了一下马拉松,以前都没跑过超过30公里。”
在当地,他们每周上三次强度课,与基普乔格所在的训练营合练。
这些强度课的训练计划,由基普乔格的恩师帕特里克·桑制定。

星期二跑场地专项速度,包括1200米、1600米和2000米间歇,每个星期都不一样。

星期四是长距离,在30公里、40公里之间切换。对中国运动员来说,这堂课也不能叫LSD(长距离慢跑)。
“配速差不多3分40,都特别快。就是拼尽自己的能力吧。跟基普乔格他们一起跑,能跟得上就跟,跟不上、掉了,也得自己慢慢跑完。”

长距离跑的全是山路——基本上都是上坡,海拔爬升六七百米。三四十公里一路跑到头,再坐车回去。
在中国运动员里面,彭建华通常都跑在最前面。

星期六也是专项速度,练法特莱克变速跑,几分钟快,几分钟慢。
每周一、三、五,中国运动员自己训练调整;大多是节奏跑16、18公里,配速3分50秒到4分,由彭建华的教练肖丽主导。她来自云南,是退休后被请到江西队的。

在肯尼亚的日子,彭建华多次与基普乔格合影;“几次拍照记不清楚了。对他印象特别好:为人特别的低调、谦和、友好。”


三强决胜徐州,孤军奋战上海
今年3月9日,彭建华刚从肯尼亚回国,半个月后就迎来他的人生第一场马拉松。

徐马赛前,教练让他尽力去跑,他自己也想跑个好成绩。“毕竟是第一次跑,心里也没底,反正就是加油干呗。没有想怎么慢下来,有多少能力就跑出来。”
笔者问他:不怕前面太快跑崩?“没想过这些。”
比赛开始后,有三名中国选手跑在第一集团:彭建华、多布杰和云南的杨绍辉。

“前面跑得还是蛮轻松的,后面慢慢有点吃力。刚开始我们跟着跑半程的老黑一起跑,一直跟到他们跑完以后,就剩我和多布杰两个人。”

杨绍辉是在10公里左右掉队的,但彭建华没太注意具体是在什么时候。
和多布杰拍过多张亲密合影的他表示:“跟多布杰是好朋友:场上对手,场下朋友。”




他坦言半程过后,彼此肯定都想甩掉对方,变速跑等战术“这些多少会有一点。但是那时我们还是想节奏跑,因为两个人都特别累了”。

到35公里左右,彭建华因为右脚脚腕剧痛,脚趾也出状况(赛后掉一个趾甲),被多布杰甩开。

“后来我自己就特别慢,感觉已经吃不消了,快崩掉了。35公里后配速掉到3分20多,最后两公里掉到3分40。”

三十七八公里处,他被老将董国建追上,此时已经毫无招架这力;“当时脚已经痛得跑不动了。”

回江西后,尽管脚腕感觉动不了(“红肿有一点,主要是里面痛”),但彭建华第二天又得慢跑,恢复训练;“快慢没有要求,只是要求你跑。”
回到本文开头,当笔者请他归纳自己首战成功的三大原因时,他回答:“主要是教练引导得好;在肯尼亚训练得好;也和自己的不放弃、努力拼搏有关吧。”

假如徐马可以重来,他的跑法会有什么不同?
“人生没有如果。就算有,也没什么不同。自己选择了这么跑,就不会去后悔。最主要的还是自己的能力不足。”
徐马赛后,他也在微信朋友圈上写道:“第一次马拉松,经验欠缺了很多,后程欠缺特别多,接下来继续加油!”

上海钻石联赛前一天,唯一代表中国出战5000米项目的他告诉笔者,虽然现在脚腕已经“没啥事了”,但毕竟和对手实力差距太大,自己只能尽力而为。
上周六在上海体育场,全场观众都见证了彭建华的“不放弃和努力拼搏”:他以14分24秒63排名垫底,几乎被所有对手(清一色的非洲裔,倒数第二也跑进13分半)都套了一圈。

尽管如此,形只影单的他仍然继续迈开大步,奋力跑完最后一圈,一直坚持到终点,博得无数观众的鼓掌喝彩。

赛后他告诉笔者,自己当时“心里没啥想的”;成绩不理想,是因为赛前状态一直很差,训练上强度都跑不动。
下一目标:东京奥运会
彭建华表示,对于马拉松运动员来说,自己的跑量特别少,每周“200公里都没到”。
谈起今后的主攻方向,“马拉松、场地两不误吧”,他说。
他的半马PB,是2017年11月长沙马拉松的1小时05分01秒,但后来再没全力跑过。

他认为自己应该能跑到63分左右:“前几天跑了个半马,跑了66分,轻松跑下来的——自己一个人,在公路上。”
他之所以徐马过后没有再战马拉松,是打算好好准备,努力冲击东京奥运会报名资格线2:11:30。

与全中国无人能挨近的5000、10000米奥运会门槛相比,他认为自己马拉松达标“希望还是蛮大的”,毕竟首马就跑出2:13,仍有相当大的提高空间。
他的下一场马拉松比赛会在今年下半年跑,具体哪里“还没定下来,得教练去安排;我现在还没有自己的想法。月底还要去非洲,这回去两个多月”。

原创文章,作者:admin,如若转载,请注明出处:https://iranshao.com/5666.html