缘起马拉松,遇见更好的自己
文/小豪
无锡马拉松结束已一周,年前就告诉自己要写一篇马拉松回忆录,这篇文章是写我和马拉松的故事。20年后的自己,无论是否还跑着,我都坚信——跑步是我愿意上一辈子的贼船。有幸和大家分享,如果在某些点儿产生共鸣,便是我最大的荣幸。
我是王豪,大学小伙伴眼里的豪哥,毕业后浓缩为了小豪。我是个非典型的90后,混迹与70、80后的跑圈。跑龄2年零3个月,已完成5个全马。
任何一个跑步的人都会被问到“你为什么开始跑步?”我试想着大概这些原因:锻炼身体、减肥保持好身材、缓解工作压力、认识更多优秀跑者等等。夜幕降临,私奔与羊肠小道时,我找到了两年前自己开始跑步的真实原因。大学期间,我是个毫无运动天赋的男生,当大学同学成群结队打篮球时,我独自一人琢磨着怎么做生意,我逃避并远离运动。求职面试时,有幸认识了联合利华大中华区的销售总监Lily Guo,她是开启我跑步的第一任导师。一眨眼已跑过2个春夏秋冬,问现在的自己为什么跑步?跑步,和喝酒搓麻SAP一样,只是一种生活方式。无需用“坚持”二字来形容跑步。
当跑步这种行为变成一种习惯,就像口袋里的硬币可被随时拿取,也就不需要坚持二字了。
2012年12月 上马初体验,关门完赛
都说每一个路跑者都会踏上马拉松这条不归路,没有例外。我也就这样走上了,唯一不同的是,大部分跑者会在积累跑量后才尝试马拉松,多从半马开始。而我这个不知天高地厚的小子,在尝试了一次3K、7K、13K后就报名参加了全程马拉松。一双板鞋和一条小西裤,居然完赛了。成绩接近关门时间5:44:13。

这是一次马拉松初体验,没有计划、没有目标、没有装备、没有技巧。在身体还没有做好准备的前提下,跑完的结果可想而知。指甲变黑,脚趾磨出血泡,更可恶的是双腿已然不是自己的,完全不听使唤,俨然是半个残疾人。第二天的出差,让我受够了苦头。
至今,我都想不明白自己怎么可能跑完全程,如果非要找个原因,或许,那就是初生牛犊不怕虎的勇气。这是我的第一次马拉松,让我彻头彻尾感受了全马的苦痛,毫无乐趣可言,欣慰的是我拿到了人生中第一块奖牌,原来,马拉松并非不可战胜。
2014年1月 厦马,开启我的跑马梦想
计划一年一马,2013年上海国际马拉松错失报名机会,萌发了2014年跑厦马的计划。厦门马拉松为中国四大金标赛事之一。环岛路的跑马线路,铸就了其“世界上最美马拉松线路”的称号。不少情侣夫妻选择携手冲破终点,用另一种方式表达和纪念爱情的浪漫。而我却和三个男生,开始了厦门跑马之旅。

计划5小时完赛,实际4:38:13完赛,较上马进步了1个多小时,请允许我给自己一些掌声。

仍清晰记得30K后演武大桥的挑战,炎炎烈日下,我第一次亲身体验“撞墙”的切身感受。35K后,我如此身临其境感受着撞墙,脑子一片空白,完全无法控制自己,我试着缓慢地挪动沉重的双脚,把自己想象成一个机器,跑跑停停,坚持着也算到了终点。当时我的月跑量是25K,而一场马拉松就是42K。跑完膝盖轻伤,我认识到加入跑团的重要性,以及更专业、更科学、更有计划性跑马的意义。
这次跑马后,我加入了跑群,认识了一帮对生活充满热情,积极阳光的伙伴,我叫他们——跑道俱乐部。
2014年4月 无马,一个人跑更快,一起跑更远
在Lily Guo的推荐下,我认识了队长阿甘。加入跑道俱乐部后,我是少有的90后,而这里的70后80后的热情和团结互助,让我感受家的温暖。我也有幸认识了花姐,她不仅是我们跑步的朋友,更是我工作外的人生导师。我逐渐养成早起的习惯,每周日固定7点华师大约跑(我家距离华师大7公里)。我花了更少时间,了解了更多先前独自一人跑所掌握的专业知识。
随着跑量的增加,我第一次参加俱乐部组团的无锡马拉松,当时2月跑休,三月跑到了121K,当时给自己定下的目标是4:30,想着这是个垫垫脚可以完成的目标,没想到4:05:50完赛了,又进步了半个多小时。全程我和一个小伙伴形影不离,相互支持鼓励到了终点。

跑步的过程中,配速不一样的人很难跑到一起。如果有一天,你找到一个配速接近的伙伴,请珍惜。如果你找到一个愿意为你放慢配速的人,请加倍珍惜。并不是每一个人都愿意放慢速度,从快车道驶向慢车道。

而我在加入团队后,深刻认识到:如果你要跑得快,一个人跑;如果你要跑得远,一起跑!
2014年12月 再战上马,伤痛让我更加成熟
上海马拉松,作为家门口的马拉松,虽工作变动很少有时间跑步,加上十一得了肺炎,可奋斗半年的心血,还是期待破4。上马鸣枪后迎来了阵雨,穿着短袖穿梭在大上海繁华的步行街,雨水顺着眼镜架滑落,分不清是汗水还是雨水。5K左右遇到中欧宇辉哥,遂以520配速各自带5K的节奏跑到30K,想着这个匀速跑到终点是3:45。后半程掉速也能跑进4,于是放弃了原本计划的530配速。
30K后,髂胫束综合症复发,刺骨的疼,纵使再多能量胶和拉伸也无法提速,一度在家乡的土地上任性甩动双手,只希望带动疲惫不堪的双脚,仍抱着进4的梦想。配速从520直落到了730,我深知进4的目标已无法完成,可马拉松的精神告诉自己:每一场马拉松,如果非要有什么战胜的对手,那就是过去的自己。

4:03:59。我使劲加快步频,快速向前蠕动,让枪声成绩控制在404之内,虽然将PB提高了3分钟,除去欣慰,更多是自责、反思、和难受。我深刻认识到循序渐进的重要性,平日跑步计划性不强,任性跑居多,实力未到,却自以为是到了进4的水平。虽然PB,却烙下了髂胫束综合症,我开始害怕跑步,担心右脚需要多久才能恢复。
两次受伤后,才使我彻底痛定思痛,不再任性,成为一个成熟跑者。
2015年3月 圆梦无马,踏上新征程
上马髂胫束综合症后,我没有自暴自弃,放慢配速到730,独自一人严格按照计划训练,一周3次,周中两次8-9K跑,周末一次LSD 15K+。肺炎一事,让我更换了生物钟,从黑练改到环境更合适的晨跑,起得越来越早,晨跑10K+洗澡,仍能930前赶到办公室,疲劳不增,精力反而更旺盛。跑步让我以全新的姿态迎接工作的每一天!
严格训练下,我的速度也在不知不觉中慢慢提升,我的进步让所有伙伴惊呆了。5K跑进了21分,10K跑进43分,这成绩已是业余选手里的较高水平。可我仍不忘循序渐进的重要性,同时为了不给自己太多压力,无锡马拉松定下了进四的目标,希望圆梦进四!

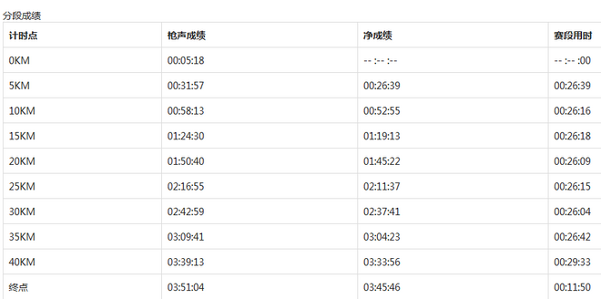
510-515的匀速跑过了35K,心情平静地如大海里的一叶扁舟,按着自己的节奏跑,我知道进4的目标已是半步之遥。36K小腿微微抽筋,盐丸却不在身边,38K过了一坐大桥后,小腿彻底抽筋,被迫停下拉伸,30秒后再次启程,可速度已降到630。熟悉的痛苦、放弃、无助再度充满我的左右脑。
感受着蠡湖秀丽的风光景色,唯有清醒的一点思绪:觉得自己真是个傻逼,怎么会报名如此虐的全马,且追求越来越快的PB。因为痛苦,正因为刻意经历这痛苦,我才从这个过程中发现自己活着的感觉,至少是发现一部分。

我现在认识到:生存的质量并非成绩、数字、名次之类固定的东西,而是含于行为之中的流动性的东西。想着日后完成330终极目标后,开始淡化成绩,追求怡情跑,帮助他人完成PB,携手冲向终点也是个不错的事儿。

3:45:46。进4了,圆梦了,这个成绩虽然迟到了半年之多,可让我为自己这一年来的努力感到激动,我向终点深深鞠了一躬,除了内心的复杂,更多是感激。

跑步的好处显而易见,脉搏从大学里的每分钟静态心率89降至了62。如今,我能够更坦然接受别人对跑步的不解,自信而谦卑的尊重每一个个体的差异。五次的跑马之旅,除了每次都刷新个人PB,更是一种人生的修行。每每工作生活中碰到的挫折、挑战、失败、痛苦,我都会想起每一个马拉松的缩影,来给自己加油鼓励。
我从个人爱好者开始转向影响他人,在我影响下,我看到越来越多的朋友加入跑步的行列。公司也成立了箭跑团,作为核心成员之一,我鼓励并倡导健康运动,将更多运动的快乐分享给他人!
村上春树说“我毕竟是一个长跑者,成绩也好,名次也好,外观也好,别人如何评论也好,都不过次要的问题。”跑步的道路上,我要谢谢自己,谢谢那个曾经有些自卑又有些胆怯的自己,谢谢那个即使别人不理解也依然选择相信自己,给自己一次改变机会的自己。最后感谢所有陪伴自己的所有人!
作为一个平凡的跑者,唯愿淡淡地跑,静静地跑,遇见更好的自己!
缘起马拉松,既然牵手了,又怎会轻易放手。
本文作者王豪,天下跑友是一家,如果你有跑步相关问题或分享,欢迎联系,他的微信号是:whvivison(非诚勿扰)
原创文章,作者:用户精选,如若转载,请注明出处:https://iranshao.com/9362.html