2017年中国马拉松的“超级星期天”,则非3月19日莫属:无锡、重庆、成都和清远四场全马比赛,全都在这一天“撞日”。
其中中国选手表现最为出色的,无疑是无锡国际马拉松:

云南专业队名将杨定宏跑出2:13:40的今年国内最快成绩,同时将PB缩短3分钟。作为非特邀选手,他比冠军只慢27秒,战胜9名非洲高手。 - 体制外第一高手李子成以今年国内第二好成绩2:15:21排名第七,超过7名非洲精英;值得一提的是,此役距他以2:18:31收获海南马拉松国内第一(国际第七)仅隔三周。

他们是如何做到的?近日笔者分别对两人进行独家专访。
背水一战跑无锡
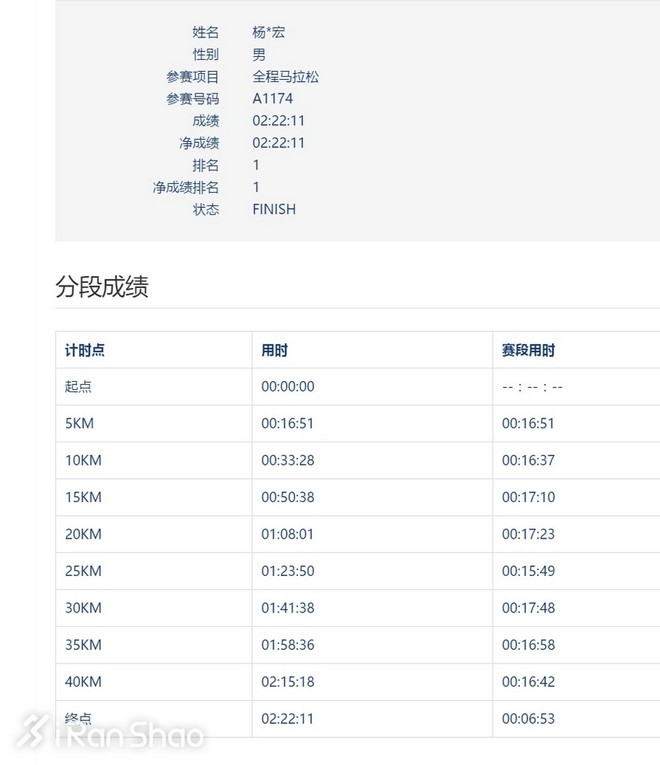
巧合的是,杨定宏今年也在海南跑过一场全马:1月8日海口马拉松。那次他夺得冠军,虽然跑得不算太快:2:22:11。



“海口湿度比较大,有点难跑。”他告诉笔者。三名黑人男选手无一进2:30、黑人女子冠军成绩仅为2:58的事实,应该可以佐证他的说法。

此次东征锡马,是杨定宏赛前三四天才临时作出的决定,“本来不准备参加任何比赛”。
今年是全运会年,这位专业队选手却三个月内连赛两场,让人有些意外。
对此他解释说:自己的比赛积分不够参加全运会马拉松,所以想争取机动名额(每个队有两个);“队里可能觉得我还欠缺一点,去了也拿不到好名次,就让我写申请说明理由。我想光靠嘴说没用,不如好好跑一场比赛,证明我的实力。”
由于在海口没跑出好的时间,无锡就成为杨定宏的背水一战——4月29日,全运会马拉松就将在天津武清区举行。
争取到机动名额对他很重要;“我是快下队的人了,将来没机会参加这类(全国性专业)比赛,比一场少一场。(全运会和8月伦敦世锦赛)这么好的机会,我还是想争取一下。”

一个朋友帮他找组委会设法要到一个名额,尽管不是特邀;“我这几年比赛都没有特邀过。我名气没那么大,赛事组委会可能也看不上我。”他坦言。
享受不到精英待遇的杨定宏,不得不一大早就赶到起点:清晨5点半坐车前往,6点左右抵达,否则人多挤不进去,很难跑出好成绩。
到起点后他上了一次厕所,这也是比赛前的最后一次。寄存方面因为有赞助商的人帮忙,他等到离比赛20分钟才脱下衣服交给他们,不必长时间受冻。
和其他高手不同,比赛中杨定宏穿的不是背心,而是T恤。

“因为临时决定来比赛,赞助商没准备好衣服,只好随便弄了件T恤穿。下雨后大概有一两斤重,太影响了!号码布在上面,又不好扔掉。这是赞助商的衣服,他们给了点路费和出场费。”他解释说。
他的赛前目标是:起码跑2:14左右,争取能进2:14,证明这个项目自己不是那么弱。
大战非洲军团40公里
比赛开始后,杨定宏一路跟在非洲选手后面跑。“让他们带一带蛮好的。我状态还不错,感觉没问题,不吃力,还能跟。能够创造好成绩,也是非常感谢他们。”

当然,人家可不想为你义务领跑。对方中途数次变速,试图甩开这几个尾巴,但一直没有奏效。
去年12月昆明马拉松,同样获得第四名(2:27:33,高海拔)的杨定宏只跟到27公里左右,这次他紧咬黑人军团不放,一路尾随至40公里。

“他们从二十多公里开始变速,一变就好几公里,跑得很快。30公里又变了几次。最后几公里又变一次。”他回忆说。
大概从25公里开始,前面一直“蛮顺的”他感觉小腿有点不对劲,“可能是有点拉伤”。
三十多公里又开始下雨,剩下两公里左右时,他终于被黑人甩掉。“当时他们速度比较快,拉开距离。我没敢追,害怕小腿出更大的问题,就保守地跑下来。”
最后两公里多,杨定宏的配速稍稍放慢到3:14,以2:13:37的净成绩完赛,将尘封了六年的PB缩短3分02秒。



比赛过后两天,他告诉笔者现在小腿已经好多了,只剩一点酸痛。对于这次锡马,他总结说:
“感觉蛮好的,但还不是太尽力,后面右小腿肌肉有点痛,害怕玩命跑把小腿弄伤,全运会就废了,所以就跟着跑。没状况的话,拿第一不敢说,应该可以争取前三吧。”
锡马规定第四名奖励6000元,国内第一两万,但不能累加;杨定宏自然选择拿国内奖。海口马拉松奖金不高,冠军仅1.5万。
实力迅速提升的秘诀
谈到自己水平的大幅提升,杨定宏解释说,这是因为赛前训练比较到位,自己心里也有底,知道能够达到这个水平;“赛前我估计自己能跑2:14左右,因为去年我半程最好跑到65分出头。”

他认为自己以前技术不太好,髋关节力量薄弱,便有针对性地加强髋部肌肉训练。
他仔细研究东非高手的跑法,发现他们步幅打得开,就是因为髋部力量上得来。他于是在这方面下了很多功夫,用一些练习加强髋部的力量和灵活性。
“现在力量起来之后,我觉得步幅迈得比较开,跑起来比较流畅。现在步幅1米7左右,大概能达到黑人的步幅;以前可能只有1米5多。”
杨定宏认为,像亚洲技术风格那样追求步频的话,提高不会太大;步幅大跑起来弹性好,黑人也不追求步频。
除了身体力量,他还通过掌控训练量,刻意磨炼后半程的支撑能力——以前的另一大弱点。“这两个致命弱点都弥补了一下,所以这次能很轻松地跑到2小时13分37秒。”
略为可惜的是,今年杨定宏就要退役,锡马的突破似乎来得晚了点。

“我前几年训练不太动脑子,瞎练,比赛下来也不去找自己失败在哪些地方的原因。后来随着自己年龄的增长和越来越成熟,开始喜欢去琢磨这些东西,借鉴国外的训练方法,包括日本等马拉松优秀国家的;这些对我帮助蛮大的。”他分析说。
杨定宏的锡马成绩,排名一年来国内第三,仅次于去年3月20日里约奥运重庆选拔赛上队友董国建创造的2:11:41,以及西藏队多布杰的2:13:15。他梦寐以求的全运会马拉松入场券,终于可以如愿到手了。
“这次这个成绩领导也比较满意,已经说这个机动名额会给我。”他透露道。
云南队估计会派五六名男选手参加全运会马拉松,其他人包括董国建、朱仁学、粟国雄和杨绍辉等,其中两个不占名额。女队人数更多,因为要打团体名次。
接下来杨定宏不会再参加比赛,以便专心准备全运会马拉松。他认为自己恢复应该没问题,“我恢复挺快的。以前参加间隔时间短的比赛,也能创造PB。”

全运会他还有另一场比赛:9月份的10000米——在中国无人达到报名门槛的伦敦世锦赛结束之后。
对于马拉松和万米,杨定宏觉得自己都有希望问鼎;“机会很难得。已经参加过三四届了,这是最后一届,反正自己尽力吧。”
锡马的好成绩,并不会影响他今年退役的决定——他不考虑在队里多待。不过“将来出去以后,会继续从事马拉松,毕竟能把自己提高到这个程度也不容易,所以会珍惜,认真练一下,我想应该不会太差。我的潜力?应该可以跑进2:13”。
三周二全马,两进2:20
锡马的成绩同样让李子成大感惊喜。
“赛前没计划跑这么快。因为去年全年比赛比较多,这是我第一次一整年都在比赛,没有(大段的)训练时间。”他告诉笔者。

2016年,李子成总共跑六场马拉松,最后一场是广东河源马拉松。
“我不是很想跑,是组委会邀请我去,出了机票,还给了些出场费,我想那就去吧。那次也是没怎么准备,可能是一年当中半马比得多,强度上得比较好,所以跑了个2:18。”
去年 六场全马,他五进2:20,只有镇江马拉松是2:22:19——因为主办方只要求中国前三名进2:32;“要进220你肯定要拼一把,想轻轻松松跑下来是不可能的。”
去年2月在海南(三亚)马拉松,李子成跑出2:14:18的三年来个人最好成绩。今年他再战三亚,虽然比去年慢四分多钟,但仍然排名国内第一。


赛前他仅仅快速准备三个星期,中间还有一个礼拜发烧,实际只练两周;“三亚跑2小时18分,我已经很满意了。因为准备少,能进2:20就不错了。”
比完三亚,他携家人回山东老家待了半个月——训练、调整各一个星期,随后就南下无锡。
李子成参加锡马的决定,是跑完三亚后的3月初作出的。2015年他拿过这一赛事的冠军(2:18:23),因此对无锡“有一种情结”。
去年因为2月28日刚比完三亚,所以没跑无锡;“我觉得我是比较理性的运动员,跑出一个好成绩马上要给自己放一个假,休息一下。”
今年锡马组委会一度规定,国内前三名必须进2:18,才能拿到分别为2万、1万和0.5万元奖金。“结果没人报名。组委会沟通以后,降低到2:26。”李子成说。
他自己也觉得:“如果要求太高,要跑得太辛苦,就不会去。它放到2:26,我想去就去吧,当一节训练课也蛮好。”

据他透露,锡马没给出场费——汇跑的赛事基本都没有;国外选手如果是A标(2:10内)且来自巴林等不好请的国家(非肯尼亚)的运动员才给,具体多少不清楚。主办方只为他提供住宿,没有路费。
3月18号早晨,李子成从山东驱车到无锡,路程将近600公里;“我回山东都是自己开车,因为要带老婆孩子,还要带行李。开习惯了,不怎么累。”
杨定宏的出现让他有些意外:“我预测(国内专业选手)应该不会有人来,因为他们都在准备全运会。”
尽管如此,他说自己赛前目标仍只是跑进2小时26分——“随便跑跑都能进。没想到发挥这么好。”
李子成的比赛经过
那天天气比较理想,也是李子成发挥出色的一大原因。
赛事方安排特邀选手下榻的酒店距起点仅100米。早晨7点他们在酒店楼下集合,由工作人员统一带进去。
主办方没请兔子,他们就跟着黑人跑。“这次非洲运动员带得比较平均。前半程不快。我和杨定宏两个人基本上一直在跟随跑。15公里以后就我们俩,没有其他中国选手;李伟只跟到15公里。”



李子成记得,非洲选手从17公里开始变速,变了3公里到第20公里;25公里又变了4公里。32公里的时候又变一次。
“我经历过三次变速,基本上每次都是3公里。杨定宏应该经历过四次,最后三公里他们肯定还要变,确保没有中国运动员在后面跟。”

他明显能察觉到,黑人运动员是在针对中国对手团队协同作战,轮流领跑;比赛前三名都出自同一个经纪人。
不过他们水平不算很高,进2:10的很少,而且坐飞机过来还要倒时差,状态并非最佳。
36公里以后,李子成配速下降,掉出第一集团。他回忆说:
“那个地方有几个连续的转弯,转过后我右脚脚踝内侧靠近跟腱的部位有点痛,就不敢发力了。到最后一个大桥上我才减速。
我知道如果自己如果硬挺下去的话,宰一两个人没问题,但是肯定要受伤,可能两三个月跑不了。虽然这样放慢——从3:10放到3:20和3:30,后面还是一直在痛,而且在加重,我就确信自己的选择是对的。
这个地方以前伤过。我的理解是:本来三亚就没什么准备,一周后又跑了个10公里(杭州马拉松接力赛),这次又跑2:15,只能说你调整、发挥比较好,但训练跟不上,达不到这么高的强度,就会受伤。如果厚积薄发,可能没问题。”
李子成掉队之前两三分钟,大约35公里过后,又出现一个新考验:开始下雨了。
“下雨肯定有影响。本来气温就只有10度左右,跑到三十几公里体温也会下降,加上雨一淋,肌肉马上就僵硬,后面几公里很不愿跑下去。”


这时他看了看表,算了一下:完赛时间要2小时15分多,决定还是坚持跑完。“对我来说,跑个(2小时)14分、13分和15分都一样,无所谓啦。”
整个锡马过程中,李子成没有太多补给,原因是觉得身体不需要——他出汗不多,消耗比较少。
“那天我并不是体能跟不上。我体能是有,只是肌肉跟不上。30公里后感觉腿没有力,总感觉一种说不上来的不舒服。36公里后脚开始出现问题,说明身体在发出严重警告。可能你再坚持一公里,这个伤马上就会爆发。”

好在比赛结束后,他的脚已无大碍。
川内优辉的启发
这次来无锡,李子成准备了两双跑鞋,都是赞助商圣康尼的。其中一双透水效果和抓地非常好,另一双弹性、缓冲比较好,但稍微厚重一点,下雨蹬地时会打滑。
因为天气预报说上午11点才会下雨,他于是选中后者参赛;“我怕受伤,所以选了这双。这双鞋不下雨没问题。”
他说现在自己跑马拉松,只要不拼PB,就不选特别专业的鞋——它们的特点是轻、薄,但容易受伤。
比赛服他穿签约赞助商豌豆客的,去年是圣康尼。今年跑鞋合同保留,但衣服没续签。

锡马的表现让李子成自信心大增:“在没有准备的情况下,能跑出这样的水平。如果稍微准备一下,应该会比这要好很多。想回到2011年(上马2:11)的高度,我想应该不会太久。”
4月份他有几场比赛,5月上中旬还有两场,后面就没安排了。他打算6到9月份休息一段时间,好好训练,因为平时比赛确实太多了。
“以前是训练不想训练,想比赛;现在是比赛不想比赛,想训练(笑);对训练比较怀念。今天能完成一堂好的间歇课,或者一次长距离跑得好,反而要比跑一场比赛还要高兴。”李子成感慨说。

但他觉得高原训练对
今年他计划多跑全马——应该会超过去年。迄今已有两场,5月前应该还要跑两到三场,全年估计八到十场;但是其他类型比赛的场次会缩减。
李子成之所以决定多跑全马,是受日本最强业余跑者川内优辉的启发。自己的切身体会让他觉得,这样做效果确实不错:三亚和无锡只隔三周,成绩都很满意。

下一个确定会跑的全马是已经报名的武汉;“去年没去,口碑这么好,昨天又成为中国五大满贯之一,我觉得要跑一下。”
至于下半年的比赛,像北京、上海之类大赛他也愿意考虑,“如果和组委会沟通得好的话。不一定要给我什么条件,你不给我住宿什么的都没关系,但最起码给我一个前排发枪,让我不用去挤。我们进去站队确实太辛苦,很早就要起来,挤到这么多人中间,本来可以跑好的都跑不好。”

点评前两名跑错事件
针对锡马备受争议的两名黑人领先选手跑错路、最终屈居二三名的乌龙事件,杨定宏认为:
“他俩其实没跑错多少,跑过去一发现就回来了;可能是太专注于往前冲。我觉得那里应该封起来,不要误导他们,延伸出去一段,让人以为要往那边跑。
(锡马终点前)赛道的急转弯太多,对选手有一定影响。到最后冲刺时还不知道终点在哪里。国内选手可能还分得清楚,国外的看不懂中文,可能影响很大——要到终点了还弄一个大急转弯。”
李子成的看法则是:
“如果组委会说它没有责任,我觉得不太妥。应该是有责任的。
我觉得是当时在那个位置的裁判或引导员的失职。他们当时可能看得很高兴,认为运动员知道应该拐,其实他们不知道。如果不失职的话,应该拿个旗挥一挥、作个手势。
你让运动员看牌子上的字,说实话他们根本看不到。那时视力都是下降的,而且字也不是很大。
运动员跑到42公里,脑子里想的基本就是我要用什么样的战术战胜对手,绝对不会想这个路怎么跑。所有马拉松的最后直道一般没有少于600米的,一般都是一公里左右。
不知你注意到没有,其实第三名也没反应过来。他是看到前面两个人撞上去以后,才反应过来的。不过组委会也没办法,因为转过来以后不远是一个体育馆,还要疏散完赛选手。”

原创文章,作者:admin,如若转载,请注明出处:https://iranshao.com/3639.html